Jöhetnek a három és négy részre hajtható Samsung telefonok?

Legnagyobb szereplőként az összehajtható, hajlítható eszközök piacán, a Samsung folyamatosan dolgozik új ötleteken és szabadalmat nyújtott be egy négy részre hajtható (quad-fold) telefonra.

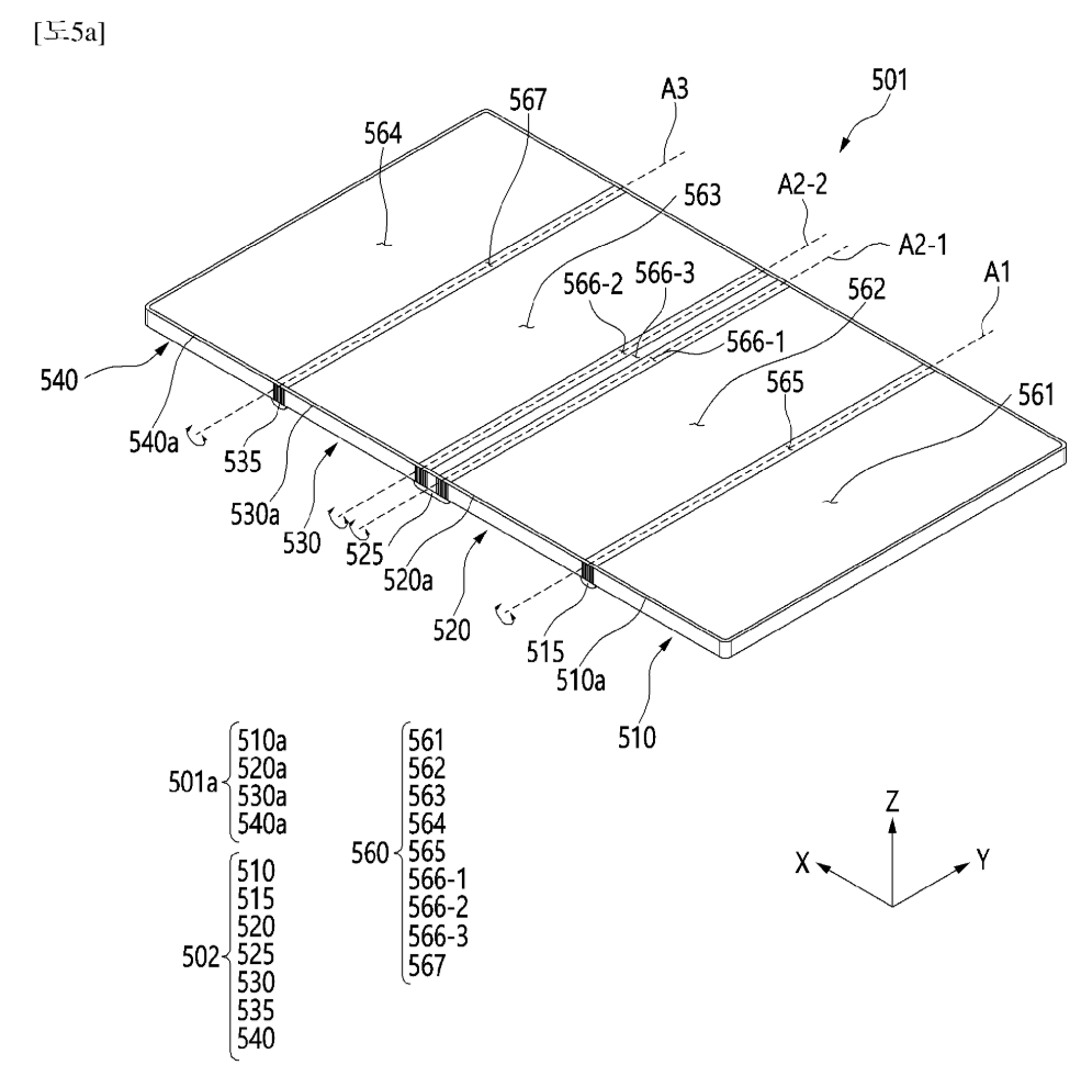
A készülék négy, vízszintesen összekapcsolt panelből áll, amelyeket három zsanér köt össze, és egyetlen hajlítható kijelző fut végig rajtuk.

 

 

A Samsung kezdetben könyvszerű kialakítással jelentkezett, majd jött a kagyló típus, és nemrégiben utalt arra, hogy egy három részre hajtható, dupla zsanéros készüléket is piacra dobhat. Most úgy tűnik, a vállalat egy még ambiciózusabb formával is kísérletezik: egy három zsanérral ellátott, négy panelből álló készülékkel.

A vállalat „ELECTRONIC DEVICE INCLUDING BENDABLE DISPLAY” címmel nyújtott be szabadalmat. Ebben többek között bemutat egy olyan eszközt, amelynek négy panelje vízszintesen kapcsolódik össze, a teljes felületen egyetlen hajlítható kijelzővel. A mellékelt rajz alapján egyértelműnek tűnik, hogy a Samsung komolyan fontolgatja egy quad-fold készülék fejlesztését, azonban ez csupán egy korai koncepció. Lehet, hogy a dizájn a jövőben változik, vagy hogy a vállalat nem is tervezi a közeljövőben piacra dobni, csak levédte az ötletet, hogy később, ha a technológia vagy a piac érettebb lesz, hasznosíthassa azt.

 

 

A szabadalom említést tesz egy három részre hajtható telefonról is. Ennél az eszköznél három panel kapcsolódik vízszintesen, két zsanérral, és egy összefüggő hajlítható kijelző borítja őket. Ez a változat fejlettebbnek tűnik: a harmadik panel alján USB-C csatlakozó, a hátlapon pedig háromkamerás rendszer is látható. Elképzelhető, hogy ez az a tri-fold modell, amelyet a Samsung az idei Galaxy Unpacked 2025 eseményen is említett, de jelenleg semmi sem biztos.

 

 

Friss tech hírek - értesülj hírlevélben

A Samsung legnagyobb riválisa, az Apple, még mindig nem jelentkezett hajlítható iPhone-nal, miközben a dél-koreai gyártó már három- és négy részre hajtható modelleken dolgozik, ezzel jelentős előnybe kerülve a cupertinói vállalattal szemben ezen a területen. Bár ezek a készülékek még nem biztos, hogy a közeljövőben megjelennek és aki most szeretne hajlítható telefont vásárolni, érdemes megfontolni a Galaxy Z Fold 6-ot.

István

István Szerző

A szerző informatikai végzettségű és imádja a tech világát – napi szinten több száz hírt néz át, értékel ki és évek óta tesztel különféle eszközöket, kütyüket, időnként appokat és szolgáltatásokat. Több ezer terméken van már túl, így van némi rálátása arra, mi az, ami tényleg megéri, és mi az, amit jobb elkerülni. Kapcsolat: istvan@tesztarena.hu

Vélemény, hozzászólás?

Az email címet nem tesszük közzé. A kötelező mezőket * karakterrel jelöljük.